Разделочная доска из фанеры — практичный и эстетичный элемент кухни, который можно сделать самостоятельно. В статье рассмотрим преимущества и недостатки фанеры, поможем выбрать оптимальную форму, а также предоставим чертежи, шаблоны и фото для вдохновения. Вы получите пошаговые рекомендации по созданию разделочной доски, что позволит сэкономить деньги и добавить индивидуальности в интерьер кухни.
Достоинства и недостатки
Декоративные разделочные доски, как правило, изготавливаются из качественной древесины, в то время как для обычных досок основным критерием является экологическая безопасность материала. Фанера представляет собой отличный вариант благодаря своей способности выдерживать температурные колебания и прочности поверхности. Кроме того, она легкая, устойчивая к сгибанию и повреждениям, что делает ее идеальной альтернативой дорогим деревянным, керамическим, неэкологичным пластиковым и хрупким стеклянным изделиям.
Даже малейший дефект может существенно сократить срок службы изделия. Белые полосы на одном из брусков свидетельствуют о том, что он подвергался воздействию низких температур, что может привести к снижению его прочности. В то же время темные пятна указывают на гниение древесины, и со временем она может распасться на пыль, если оставить ее без внимания. Плохо склеенные бруски могут разойтись, а некачественная отделка может испортить внешний вид изделия.
Важно помнить! Даже небольшая деформация рабочей поверхности недопустима, так как это может быть следствием хранения в помещениях с повышенной влажностью.
Создание разделочной доски из фанеры — это не только практичный, но и увлекательный процесс. Эксперты отмечают, что для начала важно выбрать качественную фанеру, предпочтительно из березы или бука, так как эти породы дерева обладают высокой прочностью и устойчивостью к влаге. Перед началом работы необходимо тщательно обработать края, чтобы избежать splinters и обеспечить безопасность при использовании.
После того как фанера будет нарезана на нужные размеры, рекомендуется использовать специальный клей для дерева, чтобы склеить несколько слоев, что придаст доске дополнительную прочность. Завершающим этапом является шлифовка поверхности и нанесение защитного масла, что не только улучшит внешний вид, но и продлит срок службы изделия. Эксперты подчеркивают, что такая доска станет не только функциональным элементом на кухне, но и стильным аксессуаром, который можно использовать для подачи блюд.
https://youtube.com/watch?v=5nXROqydsXk
Выбор формы разделочных досок из фанеры
Когда речь заходит о разделочных досках, не требуется никаких особых критериев, кроме экологичности материала. Их главная сила заключается в исключительном внешнем виде, который можно использовать для придания кухне нотки оригинальности.
Разделочная доска имеет не только практическое применение, но и может использоваться для украшения интерьера помещения. Для получения привлекательного результата учитывают форму изделия. Существует два способа изготовления фанерных досок: цельные и клееные, каждый из которых имеет свои преимущества.
Внимание! При изготовлении разделочной доски из фанеры поверхность этого материала нельзя украшать резьбой. Чтобы она выглядела более привлекательно, следует нанести на нее уникальные контурные линии и декоративные узоры.
| Этап работы | Описание действия | Необходимые инструменты и материалы |
|---|---|---|
| 1. Выбор фанеры | Выберите фанеру подходящего размера и толщины. Рекомендуется использовать фанеру из твердых пород дерева (например, береза) толщиной не менее 10-12 мм. Убедитесь, что фанера не имеет дефектов, расслоений и сучков. | Фанера (березовая, буковая), рулетка, карандаш |
| 2. Разметка и выпиливание | Разметьте на фанере желаемую форму разделочной доски. Это может быть прямоугольник, круг или любая другая форма. Аккуратно выпилите заготовку по разметке. | Карандаш, линейка, лобзик (электрический или ручной), струбцины (для фиксации фанеры) |
| 3. Шлифовка | Тщательно отшлифуйте все поверхности и края заготовки. Начните с крупнозернистой наждачной бумаги (P80-P120), постепенно переходя к мелкозернистой (P240-P400) для достижения гладкой поверхности. | Наждачная бумага (разной зернистости), шлифовальная машинка (орбитальная или ленточная) или шлифовальный брусок |
| 4. Обработка краев | Придайте краям доски желаемую форму. Это можно сделать с помощью фрезера, закруглив их, или просто тщательно отшлифовать, чтобы не было острых углов. | Фрезер (с закругляющей фрезой), наждачная бумага |
| 5. Пропитка маслом | Пропитайте доску пищевым минеральным маслом или специальным маслом для разделочных досок. Нанесите несколько слоев, давая каждому слою хорошо впитаться. Это защитит доску от влаги и бактерий. | Пищевое минеральное масло, чистая ткань или губка |
| 6. Сушка и полировка | Дайте доске полностью высохнуть после пропитки. Затем отполируйте поверхность чистой сухой тканью, чтобы удалить излишки масла и придать доске блеск. | Чистая сухая ткань |
| 7. Уход | Регулярно мойте доску теплой водой с мягким моющим средством. Не замачивайте доску в воде и не мойте в посудомоечной машине. Периодически повторяйте пропитку маслом для поддержания защитных свойств. | Мягкое моющее средство, губка, пищевое минеральное масло |
Интересные факты
Вот несколько интересных фактов о создании разделочной доски из фанеры:
-
Многослойная структура: Фанера состоит из нескольких слоев древесины, склеенных между собой. Это делает её более прочной и устойчивой к деформации по сравнению с обычной древесиной. При создании разделочной доски из фанеры важно выбирать качественные слои, чтобы избежать трещин и расслоений.
-
Обработка поверхности: Для разделочной доски из фанеры рекомендуется использовать натуральные масла (например, миндальное или льняное) для защиты древесины и продления срока службы. Эти масла не только защищают доску от влаги, но и подчеркивают естественную текстуру дерева.
-
Экологичность: Использование фанеры для создания разделочной доски может быть более экологически чистым выбором, чем использование массивной древесины. Фанера часто изготавливается из быстрорастущих пород деревьев, что снижает нагрузку на лесные ресурсы и способствует более устойчивому использованию древесины.
https://youtube.com/watch?v=NQpX6BEmXSk
Какая фанера нужна для разделочных досок
Эскиз предстоящей работы позволит визуализировать итоговый результат и определить его габариты. Процесс начинается с создания чертежа, после чего выбирается подходящий материал. При покупке фанеры для разделочной доски важно учитывать следующие параметры:
- материал должен быть качественным, сучки могут стать интересным элементом отделки;
- содержание клея должно быть минимальным;
- отсутствие ламинации;
- оптимальная толщина — 10 мм, но также подойдет и 6 мм.
Необходимые инструменты
Если нужно быстро и эффективно изготовить фанерную разделочную доску своими руками, то без инструментов не обойтись. Самые необходимые из них:
- ручной или электрический лобзик для выпиливания;
- дрель со сверлами по дереву;
- наждачная бумага разных сортов;
- шлифовальная машина;
- фрезер и рашпиль.
https://youtube.com/watch?v=TFZT3yS0lpY
Как сделать разделочную доску из фанеры своими руками
Процесс создания разделочной доски из фанеры своими руками можно разделить на четыре основных этапа:
- Разработка чертежа.
- Создание макета.
- Вырезание контура.
- Шлифовка и обработка пропиткой.
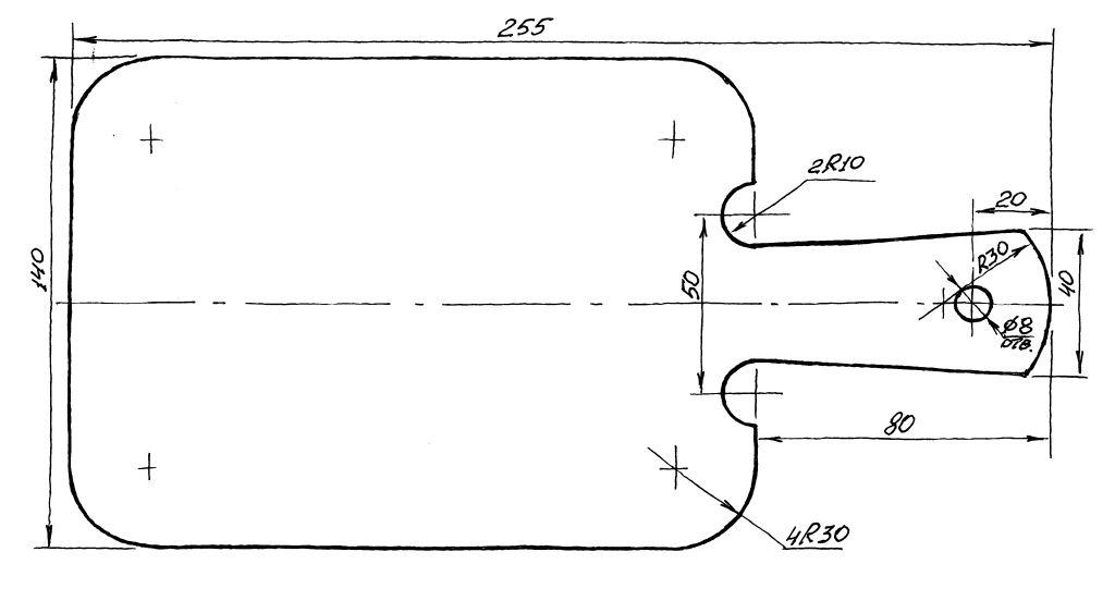
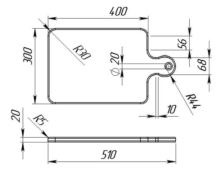
Чертеж разделочной доски из фанеры с размерами
Изготовление кухонной утвари своими руками — задача несложная, нужны лишь бумага нужного размера, линейка и карандаш. Для начала определяются с формой будущего изделия и его размерами. Затем выполняют эскиз изделия на бумаге. Наконец, с помощью линейки и карандаша создают чертеж.
Важно! Шлифовка и смазывание деревянных досок маслом не реже одного раза в три месяца поможет уберечь их от накопления бактерий и неприятных запахов, тем самым обеспечив более длительный срок эксплуатации.
Удобство и функциональность разделочных досок зависит от их формы. Наиболее распространенными являются прямоугольные, овальные и круглые. Самостоятельно сделанная доска из фанеры должна не только выглядеть эстетично, но и быть удобной в использовании.
В последнее время очень популярными становятся выдвижные модели. При движении доска освобождает поддон. Овощные отходы можно выбрасывать в емкость, чтобы они не мешали процессу резки. Аналогом может служить предмет с корзиной для мусора, которая технически выглядит как ящик стола. Форма, как правило, прямоугольная. Угловая доска идеально подходит для тесных кухонь, особая конструкция позволяет вписать ее между двумя перпендикулярными поверхностями и сэкономить место.
Предмет на ножках может легко заменить выдвижной механизм или более сложные конструкции с отделениями для мусора — для этого достаточно установить рядом контейнер, который будет служить емкостью для сбора отходов.
Выпиливание контура
Для создания разделочной доски потребуется фанера толщиной не менее 10 мм. Сначала по разработанному чертежу изготавливается макет из картона или ДВП. Затем контур изделия переносится на фанеру. Форму вырезают с помощью лобзика или фрезера с копировальной насадкой. В завершение сверлится отверстие для ручки в верхней части.
Важно! После того как заготовка будет готова, необходимо тщательно зашлифовать изделие. Все торцевые стороны следует скруглить, чтобы избежать травм во время приготовления пищи.
Шлифовка и пропитка
Разделочные доски из фанеры не только полезны на кухне, но и могут стать привлекательным дополнением интерьера. Потенциальная проблема разбухания фанеры под воздействием воды легко решается путем пропитки изделия и его торцов горячим раствором из льняного масла и воска в пропорции 1:1.
Пропитку выполняют в три этапа с межслойной шлифовкой. Раствором смачивают шерстяную ветошь, чтобы с тряпки не стекала жидкость. Тампоном аккуратно обрабатывают поверхность втирочными движениями вдоль волокон древесины. Оставляют на просушку на 12 часов.
После пропитки могут подняться ворсинки, поэтому производят шлифовку поверхности наждачной мелкозернистой бумагой. Повторяют нанесение раствора из льняного масла и пчелиного воска. Пропитку наносят в три слоя.
Заключение
Разделочная доска, созданная из фанеры своими руками, может не только эффективно использоваться для нарезки продуктов, но и стать стильным элементом декора вашей кухни. Для этого обратную сторону доски можно украсить различными техниками, такими как декупаж, вырезание узоров или выжигание.
Уход за разделочной доской из фанеры
Разделочная доска из фанеры требует особого ухода, чтобы продлить срок её службы и сохранить гигиеничность. Правильный уход поможет избежать появления трещин, деформаций и неприятных запахов.
1. Чистка после использования
После каждого использования доску необходимо тщательно мыть. Для этого используйте теплую воду и мягкое моющее средство. Избегайте использования абразивных губок, так как они могут повредить поверхность фанеры. Если на доске остались пятна от продуктов, можно использовать смесь уксуса и воды в равных пропорциях для их удаления.
2. Сушка
После мытья доску следует тщательно высушить. Не оставляйте её на воздухе, так как это может привести к деформации. Лучше всего использовать чистое полотенце для протирания, а затем оставить доску в вертикальном положении для окончательной сушки.
3. Обработка маслом
Чтобы защитить фанеру от влаги и предотвратить её растрескивание, рекомендуется периодически обрабатывать доску растительным или минеральным маслом. Это следует делать не реже одного раза в месяц. Нанесите масло на поверхность с помощью чистой ткани и дайте ему впитаться в течение нескольких часов. Избыток масла можно удалить сухой тканью.
4. Хранение
Правильное хранение разделочной доски также играет важную роль в её долговечности. Храните доску в сухом месте, вдали от источников влаги и прямых солнечных лучей. Лучше всего, если она будет стоять вертикально или лежать на плоской поверхности, чтобы избежать деформации.
5. Регулярная проверка
Периодически осматривайте разделочную доску на наличие трещин или других повреждений. Если вы заметили, что поверхность начала изнашиваться, можно аккуратно отшлифовать её мелкозернистой наждачной бумагой и повторно обработать маслом.
Следуя этим простым рекомендациям, вы сможете сохранить вашу разделочную доску из фанеры в отличном состоянии на протяжении многих лет, обеспечивая её гигиеничность и функциональность.
Вопрос-ответ
Можно ли сделать разделочную доску из фанеры?
В каждом доме наверняка можно найти кусок какой-нибудь доски. Подойдет фанера, но лучше для изготовления разделочной доски использовать цельный массив дерева.
Можно ли использовать фанеру для разделочных досок?
Фанера сама по себе НЕ безопасна для пищевых продуктов — клей между слоями токсичен, и вы или ваши клиенты можете заболеть, если продукты питания будут находиться в прямом контакте с клеем между слоями. Сама по себе фанера безопасна, но токсичный клей может проникнуть в фанеру, если она намокнет или нагреется.
Можно ли сделать перегородку из фанеры?
Перегородка из фанеры – это недорогой и легкий в установке способ разграничить пространство в квартире или доме. Иногда с помощью такой перегородки можно сделать интерьер особенным или создать дополнительное пространство без расширения площади.
Советы
СОВЕТ №1
Перед началом работы тщательно выберите фанеру. Лучше всего использовать фанеру из березы или бука, так как они обладают хорошей прочностью и устойчивостью к влаге. Убедитесь, что фанера не содержит токсичных клеев и обработок, чтобы ваша доска была безопасной для использования в кухне.
СОВЕТ №2
При резке фанеры используйте острые инструменты, такие как циркулярная пила или ручная пила с мелкими зубьями. Это поможет избежать сколов и повреждений краев, что сделает вашу разделочную доску более аккуратной и долговечной.
СОВЕТ №3
Не забудьте обработать готовую доску специальным маслом для дерева или воском. Это защитит поверхность от влаги и загрязнений, а также придаст ей красивый блеск. Регулярная обработка поможет продлить срок службы вашей разделочной доски.
СОВЕТ №4
После использования всегда мойте доску вручную с мягким моющим средством и теплой водой, избегая погружения в воду или использования посудомоечной машины. Это поможет предотвратить деформацию и растрескивание фанеры.




