Плетистые розы — это растения, способные преобразить сад, но для их роста и цветения нужны надежные опоры. В этой статье мы рассмотрим, как создать шпалеры для плетистых роз, включая виды конструкций и подходящие материалы. Вы узнаете о требованиях к опорам и получите рекомендации и идеи для улучшения вашего сада.
Зачем нужны опоры для плетистых роз
Вьющаяся роза нуждается в опоре для своего роста. Она дает возможность контролировать направление развития растения. С помощью шпалеры можно создать красивые цветники, организовать зону отдыха и улучшить внешний вид участка.
Для того чтобы обеспечить непрерывное цветение, основной стебель следует надежно прикрепить к шпалере, а боковые побеги равномерно распределить по опоре в разные стороны. Горизонтальное расположение стебля способствует образованию цветоносных побегов, что, в свою очередь, увеличивает количество цветков.
Важно! Чтобы роза радовала вас цветением на протяжении всего сезона, эксперты советуют обрезать отцветшие бутоны. Это активизирует процесс формирования новых цветоносов для повторного цветения.
Создание опор для плетистых роз своими руками является популярным занятием среди садоводов. Эксперты отмечают, что правильный выбор материала и конструкции опоры может значительно повлиять на здоровье и внешний вид растений. Металлические решетки, деревянные арки и даже простые шпалеры из проволоки — все это варианты, которые можно адаптировать под индивидуальные предпочтения.
Фотографии различных опор вдохновляют на творчество и помогают выбрать наиболее подходящий вариант. Специалисты рекомендуют учитывать высоту и форму растений при проектировании опоры, чтобы обеспечить им необходимую поддержку и пространство для роста. Кроме того, использование натуральных материалов, таких как дерево, не только эстетично, но и экологично. Важно помнить, что правильно сконструированная опора не только украсит сад, но и обеспечит долговечность и здоровье плетистых роз.
https://youtube.com/watch?v=FNv3DRzlYl4
Виды опор для плетистых роз
Для формирования правильной формы куста и обильного цветения растение подвязывают на опоры. Основные из них – шпалеры, арки, перголы, столбы и конусы. Красивые опоры для плетистых роз отличаются разнообразием.
Роза не цепляется за шпалеру или арку. Чтобы придать композиции привлекательный внешний вид, стебли просто укладывают в необходимое положение и подвязывают.
| Вид опоры | Материалы | Преимущества | Недостатки | Фото |
|---|
Интересные факты
Вот несколько интересных фактов о создании опор для плетистых роз своими руками:
-
Разнообразие материалов: Опоры для плетистых роз можно изготовить из различных материалов, таких как дерево, металл, проволока и даже бамбук. Каждый материал имеет свои преимущества: деревянные конструкции хорошо вписываются в садовый ландшафт, а металлические — более долговечны и устойчивы к погодным условиям.
-
Креативные формы: Опоры могут принимать самые разные формы — от простых решеток до сложных арочных конструкций. Использование нестандартных форм, таких как перголы или арки, не только поддерживает растения, но и служит декоративным элементом в саду.
-
Экологичный подход: Создание опор из переработанных материалов, таких как старые лестницы, деревянные поддоны или металлические трубы, не только экономит деньги, но и способствует охране окружающей среды. Такие конструкции могут стать уникальным акцентом в вашем саду и подчеркнуть вашу индивидуальность.
Эти факты подчеркивают как функциональность, так и эстетическую ценность опор для плетистых роз, которые можно создать своими руками.
https://youtube.com/watch?v=vWyQTpM35rA
Шпалера
Самая удобная опора для плетистых роз – это шпалера. Эта конструкция состоит из двух вертикальных элементов и нескольких горизонтальных перекладин. Сделать шпалеру своими руками довольно просто.
Для создания шпалеры обычно используют деревянные доски размером 2х4 см. Опора имеет вид решетки с крупными ячейками, которые могут быть квадратными, прямоугольными или ромбовидными.
Чтобы усилить конструкцию и увеличить ее долговечность, часто применяют металлический профиль для опор и арматуру для перекладин. Однако металлические шпалеры встречаются реже.
Арка
Арки придают саду особую декоративность и атмосферу. По конструкции арка надежнее шпалеры. Это высокодекоративный и функциональный элемент сада.
Если к шпалере обычно крепят 1 куст плетистой розы, то арка выдерживает 2-4 растения. По 2 с каждой стороны.
Арки располагают в просторных садах вдоль аллей. По конструкции высаживают плетистые розы, чередуя их по цветам или по сроку цветения.
https://youtube.com/watch?v=Q5Trtn3YUz4
Пергола
Пергола представляет собой эстетический элемент японского сада. Ее характерной чертой является прямая решетчатая крыша. Конструкция перголы схожа с аркой.
Для создания опорных столбов используют брус сечением 7×7 см или больше. Решетчатая часть изготавливается из тонких досок. Ячейки, как и в арочной конструкции, располагаются вдоль опорных столбов или по диагонали.
Столбы и конусы
Столбы подходят не для всех сортов плетистых роз. Чтобы опора была надежной и не навредила растению, ее изготавливают из металлического профиля сечением 4 см. В саду устанавливают одну или несколько опор столбчатого типа.
Помимо столбов применяют опоры в виде конуса. Такие конструкции позволяют придавать форму роста и объем растению.
Из какого материала сделать и требования к опорам
При выборе сырья для создания опор важно учитывать их надежность. Решение принимается в зависимости от требований к конструкции. Если опора нужна для одного куста роз среднего размера (высота до 1 метра), то можно использовать шпалеру, столб или конус. Для оформления аллеи подойдут арка или пергола.
Не менее важным аспектом является стоимость материалов. Для изготовления опоры для плетистой розы можно использовать:
- деревянные брусья и доски;
- металлические профили и арматуру;
- кирпич или камень для столбов;
- пластиковые трубы.
Сочетание различных материалов поможет повысить надежность более дешевых вариантов. Опора должна соответствовать определенным критериям:
- прочность и долговечность;
- привлекательный внешний вид;
- экологическая безопасность;
- легкость в установке;
- соответствие размерам куста.
Как сделать опору для плетистой розы
При помощи каркаса для розы плетистой, изготовленного своими руками сооружают декоративное место отдыха на участке, облагораживают газон, дорожку и закрывают невзрачные хозяйственные постройки. Без опоры растение будет стелиться по земле.
Как сделать арку для плетистых роз своими руками
Перед созданием арки важно оценить её предназначение, размеры и прочность. Сначала на бумаге создают чертеж опоры, рассчитывают размеры и подготавливают все необходимые материалы и инструменты. Этапы изготовления арки для плетистых роз следующие:
- На выбранном месте убирают верхний слой дерна и выкапывают ямы глубиной 50 см. В соответствии с чертежом отрезают опоры и перекладины из бруса и досок нужной длины.
- Опорные балки обрабатывают битумной мастикой на 40 см от края. В подготовленные ямы засыпают щебень и песок слоем 10 см, затем устанавливают опорные балки обработанной стороной вниз и фиксируют их цементом или засыпают землёй. Землю тщательно утрамбовывают. К опорам прикрепляют дуги из бруса, после чего с помощью шуруповерта и саморезов прикручивают перекладины по периметру каркаса.
- Арку окрашивают в нужный цвет с использованием краски для дерева, морилки или лака. Ветви плетистой розы равномерно распределяют по опоре и фиксируют пластиковыми хомутами или бечевкой. Важно помнить, что пластиковые хомуты могут трескаться из-за перепадов температуры, поэтому лучше использовать льняную бечевку.
Кроме деревянных брусьев и досок, арку можно изготовить из металлического профиля с минимальным сечением 4 см для опорных столбов. Для перекладин подойдет арматура сечением 1 см.
Для повышения прочности деревянной конструкции можно создать комбинированные арки. В этом случае столбы из металлического бруса сечением 5-10 см, а перегородки будут деревянными. Такой вариант прослужит дольше, а при необходимости прогнившие доски можно легко заменить в любое время.
Как сделать перголу для плетистых роз
Перголы изготавливают аналогично аркам. Единственным отличием является крыша. Арки преимущественно обустраивают в полукруглой форме.
У перголы крыша плоская. Помимо решетки, на крыше конструкции сооружают ряд декоративных коньков. Основной материал для изготовления перголы – дерево. Порядок возведения опоры:
- Расчищают место на участке возле плетистой розы. Определяют размеры опоры. Готовят детали и обрабатывают пропиткой для дерева. По углам выкапывают лунки глубиной 50 см. На дно подсыпают песчано-гравийную подушку высотой 5-10 см, вкапывают опорные столбы, предварительно обработанные битумным влагоотталкивающим составом.
- К балкам крепят перекладины на расстоянии 40 см сверху и снизу. Набивают решетку из доски 2*4 см с шагом 7-12 см.
- Обустраивают крышу. К опорным балкам крепят горизонтально перекрытия и прибивают в ряд коньки. По углам конструкцию укрепляют брусом.
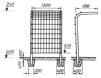
Как самостоятельно сделать шпалеру для плетистых роз
Самая удобная опора для плетистых роз – это шпалера. Чаще всего используют деревянные брусья, доски или металлические профили и арматуру. Чтобы сэкономить время, на опорные столбы можно прикрепить сетку-рабицу с крупными ячейками. Этапы работы:
- Изготавливают детали согласно необходимым размерам.
- Собирают каркас из бруса.
- Крепят доски с интервалом 10 см сначала по горизонтали, а затем по вертикали.
- На изображении видно, что для создания опоры для плетистых роз своими руками конструкцию устанавливали на металлический уголок размером 4×4 см и толщиной 3-5 мм.
Рекомендации
После того как опору установили и окрасили в необходимый цвет, основные стебли плетистой розы равномерно распределяют по опоре. По мере отрастания боковых побегов ветви крепят на шпалеру в горизонтальном положении. Такой прием позволяет увеличить количество цветоносных ростков.
Правильное формирование растения приведет к обильному продолжительному цветению. По мере отрастания ветвей их обрезают, чтобы набухающие почки имели возможность проснуться.
После цветения бутоны обязательно срезают. Этот маневр позволит растению в дальнейшем заложить цветоносные ветви.
Для того чтобы растение радовало хозяина весь сезон, плетистую розу удобряют комплексным минеральным составом с повышенным содержанием азота и калия. При необходимости листву опрыскивают от вредителей.
Заключение
Шпалеры для плетистых роз – это замечательное украшение для вашего сада. Самостоятельно созданная опора станет настоящей гордостью для владельца. Каждый раз, проводя время в тени перголы или арки, вы сможете наслаждаться великолепным зрелищем, которое дарит королева сада.
Уход за опорами для плетистых роз
Уход за опорами для плетистых роз является важным аспектом, который обеспечивает не только долговечность конструкции, но и здоровье самих растений. Правильный уход позволяет избежать повреждений и способствует гармоничному развитию роз. Рассмотрим основные моменты, на которые стоит обратить внимание.
1. Регулярная проверка состояния опор
Необходимо периодически осматривать опоры на предмет повреждений, коррозии (если опоры металлические) или гниения (если деревянные). В случае обнаружения дефектов, их следует немедленно устранять, чтобы избежать дальнейших проблем. Например, ржавчину можно удалить с помощью специальных средств, а поврежденные деревянные элементы лучше заменить.
2. Устойчивость к погодным условиям
Опоры должны быть устойчивыми к различным погодным условиям. Важно учитывать, что сильные ветры и осадки могут повредить конструкции. Поэтому стоит выбирать материалы, которые хорошо переносят внешние воздействия. Например, для деревянных опор рекомендуется использовать антисептики и водоотталкивающие составы, чтобы продлить их срок службы.
3. Поддержка растений
При росте плетистых роз необходимо следить за тем, чтобы они правильно обвивали опоры. Для этого можно использовать мягкие веревки или специальные зажимы, которые не повредят стебли. Важно не затягивать крепления слишком сильно, чтобы не нарушить циркуляцию воздуха и не повредить растения.
4. Удаление лишних побегов
Регулярная обрезка лишних побегов поможет сохранить форму растения и предотвратить его загущение. Это также облегчит уход за опорами, так как будет меньше веток, которые могут запутываться и мешать нормальному развитию роз. Обрезку лучше проводить весной, когда начинается активный рост.
5. Устранение сорняков
Сорняки могут не только затенять плетистые розы, но и конкурировать с ними за питательные вещества. Поэтому важно регулярно очищать пространство вокруг опор от нежелательной растительности. Это также поможет предотвратить распространение вредителей и болезней.
6. Подкормка и полив
Не забывайте о регулярной подкормке и поливе роз. Здоровые растения лучше обвивают опоры и выглядят более привлекательно. Используйте комплексные удобрения, которые подходят для плетистых роз, и следите за уровнем влажности почвы, особенно в жаркие дни.
Таким образом, правильный уход за опорами для плетистых роз включает в себя регулярные проверки, поддержку растений, обрезку, борьбу с сорняками и обеспечение необходимых условий для роста. Эти меры помогут сохранить не только опоры, но и сами растения в отличном состоянии.
Вопрос-ответ
Какая опора подходит для плетистых роз?
В качестве опоры можно брать дерево, пластик, полимерные материалы. Металл лучше не использовать там, где растение будет находиться на солнце. Если опора с горизонтальными брусьями, расстояние между ними должно быть не меньше 50 см. Понадобится добавить поперечные перекладины, если роза ветвистая.
Можно ли выращивать плетистые розы без опоры?
Независимо от того, какой способ выращивания и формирования вы решите использовать, вьющуюся или плетистую розу, её необходимо подвязать к опоре. Подвязывая вьющиеся или плетистые растения к опорам, таким как арки или заборы, вы поднимаете цветы на уровень глаз, создавая великолепный цветочный ансамбль.
Как укрыть плетистую розу, не снимая с опоры?
Для того чтобы “крыша” не разъехалась, щиты лучше подпереть подручными материалами. Например, можно использовать деревянные колышки, вбитые в землю. Сверху приготовленное укрытие накрывают полиэтиленовой пленкой. До начала устойчивых минусовых температур торцы укрытия можно не закрывать.
Как формировать куст плетистой розы?
Кусты плетистых однократно цветущих роз должны формироваться так, чтобы они состояли из 6-10 побегов: 3-5 однолетних веточек замещения и 3-5 двулетних побегов, на которых будет происходить цветение в текущем году. Основное формирование этих растений проводят летом.
Советы
СОВЕТ №1
Перед тем как начать изготовление опоры для плетистых роз, определите оптимальное место для их посадки. Убедитесь, что выбранная локация получает достаточное количество солнечного света и защищена от сильных ветров, чтобы ваши розы могли расти здоровыми и красивыми.
СОВЕТ №2
При выборе материалов для опоры отдавайте предпочтение прочным и долговечным вариантам, таким как металл или дерево, обработанное антисептиками. Это обеспечит надежность конструкции и защитит ее от воздействия внешней среды.
СОВЕТ №3
Обратите внимание на высоту и форму опоры. Плетистые розы могут достигать значительной высоты, поэтому опора должна быть достаточно высокой и устойчивой. Рассмотрите возможность создания арки или шпалеры, чтобы добавить эстетическую привлекательность вашему саду.
СОВЕТ №4
Не забывайте о регулярном уходе за опорой и растениями. Проверяйте крепления и состояние материалов, а также следите за тем, чтобы розы не переплетались слишком сильно, что может привести к повреждению стеблей и ухудшению их роста.







