Разделочная доска — важный элемент кухни, который упрощает приготовление пищи и влияет на качество продуктов. В этой статье мы расскажем, как сделать деревянную разделочную доску своими руками, предоставив чертежи с размерами, фото и проекты. Вы узнаете о преимуществах и недостатках деревянных досок, необходимых инструментах и поэтапной технологии изготовления, что поможет создать уникальный и долговечный предмет.
Достоинства и недостатки
Деревянная разделочная доска, в том числе изготовленная своими руками, обладает как положительными, так и отрицательными сторонами.
Преимущества:
- высокая износостойкость обеспечивает долгий срок службы;
- деревянная доска может стать стильным, лаконичным или элегантным сувениром;
- древесина способствует поглощению и нейтрализации вредных микроорганизмов;
- изделия из дерева легко и эффективно очищаются теплой водой с обычным моющим средством;
- древесина является натуральным материалом, не содержащим токсичных веществ и не вызывающим аллергических реакций.
Недостатки:
- требуется постоянное поддержание чистоты, регулярное протирание пищевыми минеральными маслами для предотвращения пересыхания, трещин и других деформаций;
- дерево тяжелее пластика – изделия из натурального материала имеют большую массу и объем;
- нельзя мыть деревянные кухонные принадлежности в посудомоечной машине, так как это может привести к их быстрому повреждению.
Создание разделочной доски из дерева своими руками – это не только увлекательный процесс, но и возможность получить уникальный предмет, который будет служить долгие годы. Эксперты отмечают, что выбор древесины играет ключевую роль: предпочтение стоит отдавать твердым породам, таким как бук, дуб или клен, которые обладают высокой прочностью и устойчивостью к влаге.
Перед началом работы важно подготовить необходимые инструменты: пилу, шлифовальную машину и ножи для обработки краев. Специалисты рекомендуют тщательно обрабатывать поверхность доски, чтобы избежать зазубрин и трещин, которые могут стать местом накопления бактерий.
После завершения обработки стоит покрыть доску специальным маслом или воском, что не только придаст ей эстетичный вид, но и защитит от влаги. В конечном итоге, собственноручно изготовленная разделочная доска станет не только функциональным предметом, но и стильным элементом кухни.
https://youtube.com/watch?v=NI_Uxsz1V6o
Формы разделочных досок из дерева
Кухонные разделочные доски сделать самому из дерева не так уж и сложно. Важный аспект дизайна такого изделия – выбор формы.
Данный предмет может иметь различную геометрию:
- прямоугольник – это наиболее простой и универсальный в плане применения вариант;
- круг или овал – такие экземпляры могут служить и для подачи фирменной выпечки в виде праздничных караваев, пиццы, тортов;
- фигурная форма – деревянной разделочной поверхности из дерева можно придать силуэт фрукта, овоща, цветка, листика или животного.
| Этап работы | Описание действия | Необходимые инструменты и материалы |
|---|---|---|
| Выбор древесины | Выберите подходящий тип дерева. Для разделочных досок хорошо подходят твердые породы, такие как дуб, ясень, клен, бук. Избегайте хвойных пород из-за их мягкости и смолистости. | Деревянная заготовка (доска или брус) |
| Разметка и распил | Отметьте на заготовке желаемые размеры и форму будущей доски. Используйте угольник для точных прямых углов. Распилите заготовку по разметке. | Карандаш, рулетка, угольник, ножовка (ручная или электрическая), лобзик (для фигурных форм) |
| Строгание и шлифовка | Выровняйте поверхность доски, удалите неровности и заусенцы. Начните с крупнозернистой наждачной бумаги (P80-P120), постепенно переходя к более мелкой (P180-P240) для гладкости. | Рубанок (при необходимости), шлифовальная машинка (ленточная, эксцентриковая) или шлифовальный брусок, наждачная бумага разной зернистости |
| Формирование краев | Придайте краям доски желаемую форму – закруглите их, снимите фаску или оставьте прямыми. Это улучшит эргономику и безопасность использования. | Фрезер (с соответствующей фрезой), рашпиль, напильник, наждачная бумага |
| Обработка маслом | Пропитайте доску пищевым минеральным маслом или специальным маслом для разделочных досок. Это защитит дерево от влаги, бактерий и продлит срок службы. Нанесите несколько слоев, давая каждому хорошо впитаться. | Пищевое минеральное масло, чистая ткань или губка |
| Сушка и полировка | Дайте маслу полностью высохнуть. После высыхания можно слегка отполировать доску чистой сухой тканью для придания блеска. | Чистая сухая ткань |
Интересные факты
Вот несколько интересных фактов о создании деревянной разделочной доски своими руками:
-
Выбор древесины: Для разделочных досок лучше всего подходят твердые породы дерева, такие как клен, дуб или черешня. Эти виды древесины не только прочные, но и менее пористые, что помогает предотвратить накопление бактерий и облегчает уход за доской.
-
Техника “end grain”: Разделочные доски, сделанные по технологии “end grain” (срез по волокнам), более устойчивы к повреждениям и износу. В такой конструкции волокна дерева располагаются вертикально, что позволяет ножу легче входить в доску и восстанавливать свою форму после резки.
-
Обработка масла: После завершения изготовления доски важно правильно ее обработать. Использование пищевого минерального масла или воска помогает защитить древесину от влаги и загрязнений, а также подчеркивает естественную красоту дерева. Регулярная обработка масла продлевает срок службы доски и сохраняет ее в хорошем состоянии.
https://youtube.com/watch?v=3Jj4GjS3wfo
Из какого дерева лучше сделать разделочную доску
Для кухонных поверхностей рекомендуется использовать древесину высококачественных и влагостойких пород класса А или экстра. Отличным выбором станет разделочная доска из дуба.
Также можно рассмотреть и другие виды древесины:
- акация;
- бук;
- вишня;
- груша.
Эти материалы способны выдерживать частую стирку и не теряют форму при регулярном использовании острых ножей.
Необходимые инструменты
Прежде чем приступать к работе, следует позаботиться о наличии следующих инструментов:
- рулетки или линейки с угольником (для выполнения замеров);
- простого карандаша (степень твердости его роли не играет);
- циркуля (подойдет строительный или простой школьный циркуль);
- электрического лобзика (вспомогательным инструментом для выпиливания может быть пилка по металлу);
- дрели;
- стамески;
- тисы;
- шлифовальной машинки.
Внимание! Вместо шлифмашинки или наряду с ней для шлифования изделия можно также использовать круги крупной (60) и мелкой зернистости (220).
На завершающем этапе работы мастеру понадобится специальная шлифовальная губка, а также кисть и вазелиновое масло.
https://youtube.com/watch?v=swnGA70Kb-4
Как сделать деревянную разделочную доску своими руками
Алгоритм создания аксессуара своими руками:
- Подготовка выкройки. Эскиз будущей разделочной поверхности рисуют карандашом на сложенном пополам листе бумаги или картона, что обеспечивает идеальную симметрию.
- Разметка. По созданному шаблону наносят разметку на заранее подготовленном куске дерева.
- Выпиливание заготовки. Для этой задачи используют электролобзик. В случае сложных форм с небольшими радиусами, требующих высокой точности, дополнительно применяют пилу по металлу с мелкими зубьями для криволинейной резки.
- Шлифовка деревянной заготовки. Тщательно обрабатывают каждую сторону, начиная с грубых шлифовальных кругов и переходя к более мелким. Снимают фаски и обрабатывают углы. Завершающий этап – шлифование всех поверхностей абразивной губкой.
- Обработка маслом. Поверхности изделия покрывают минеральным вазелиновым маслом. Также можно использовать кунжутное или льняное масло. После того как состав впитается и высохнет, процедуру повторяют 3-4 раза. Остатки масла удаляют сухой чистой тряпкой. Изделию необходимо дать время для полного высыхания, что займет около 24 часов.
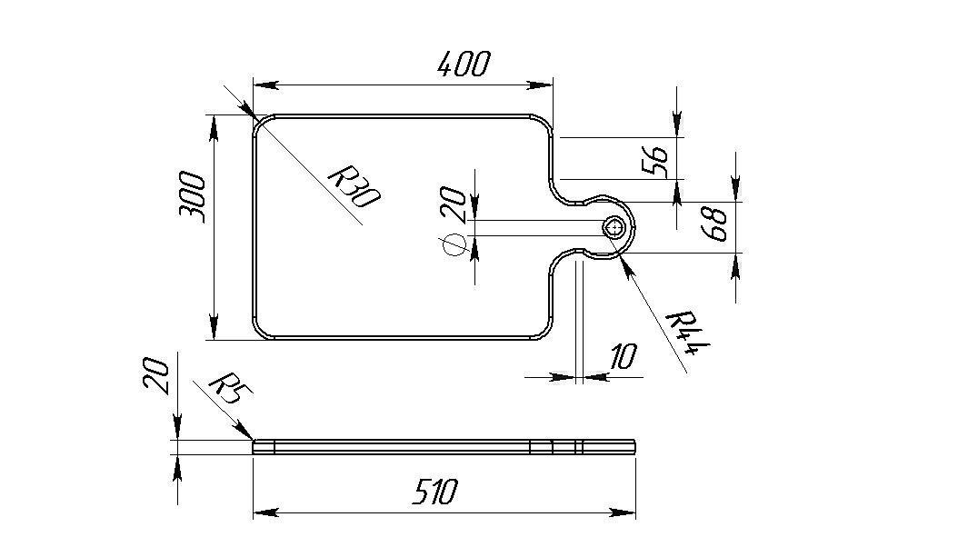
Чертеж деревянной разделочной доски с размерами
Обязательной подготовительной работой является выполнение проектного чертежа будущего изделия.
Изначально выполняют его от руки на бумаге, после чего переносят его на более плотный материал, например, картон. Важно соблюдение точности размеров.
Эскиз на бумаге должен давать четкое представление о форме и всех геометрических параметрах изделия.
Без опорного чертежа разделочная доска из дуба, размеры которой указывают на соответствующем изображении, вряд ли получится качественной и добротной.
Специалисты рекомендуют новичкам при разработке чертежей отдавать предпочтение не замысловатым, а простым и сдержанным контурам.
Такую доску будет проще сделать без дефектов, она окажется более практичной для применения.
Резка дерева
Для резки листового дерева в столярном деле, включая создание кухонной разделочной поверхности, рекомендуется использовать электрический лобзик.
Этот инструмент обладает отличными возможностями:
- позволяет делать как ровные, так и криволинейные пропилы;
- обеспечивает точное выпиливание контура без повреждения древесины;
- подходит для работы с досками различной толщины;
- многие модели лобзиков имеют возможность выполнения дополнительных функций.
Если вы планируете изготовление 3D разделочной доски своими руками, выбирайте лобзик с маркировкой пилы «clean for wood» – он специально разработан для работы с деревом.
Перед началом работы необходимо установить пильное полотно в инструмент и настроить скорость движения пилочки.
Вырезание контура при создании разделочной доски из дуба является ключевым этапом. Во время работы важно придерживать материал свободной рукой. Более надежным и удобным вариантом будет резка дерева, зафиксированного в тисках.
Шлифовка и обработка
После получения выпиленной заготовки переходят к шлифовке. Для этой работы вначале используется шлифовальная машина.
Затем переходят к обработке поверхностей наждачной бумагой с крупным зерном, продолжая процесс шкурками со средним зерном и завершая его мелкозернистым наждаком.
Когда шлифование завершено, доску протирают для удаления пылевых загрязнений, после чего натирают минеральным маслом. Чтобы получить изделие эстетичного вида, такую опцию выполняют многократно.
Благодаря многослойному нанесению масла натуральный материал станет менее гигроскопичным. 3д разделочная доска из дерева, изготовленная своими руками и обработанная по данной технологии, будет значительно меньше впитывать влагу во время мытья, и это свойство продлит срок ее эксплуатации.
Заключение
Разделочная доска из дерева, выполненная своими руками и обладающая простым дизайном, является изделием, которое под силу создать даже тем, кто только начинает осваивать столярное дело.
Для опытных мастеров не составит труда изготовить более сложные, авторские модели с уникальной формой, которые могут стать отличными сувенирами.
Создание деревянных разделочных досок не так уж сложно, хотя этот процесс требует соблюдения определенных стандартов. Важно помнить о правилах безопасности при работе с острыми инструментами, так как это поможет избежать травм.
Уход за деревянной разделочной доской
Уход за деревянной разделочной доской — это важный аспект, который поможет продлить срок службы вашего изделия и сохранить его в хорошем состоянии. Дерево, как натуральный материал, требует особого внимания, чтобы избежать повреждений и сохранить его гигиеничность.
Первое, что нужно помнить, это то, что деревянные доски не следует мыть в посудомоечной машине. Высокие температуры и агрессивные моющие средства могут привести к растрескиванию и деформации древесины. Вместо этого рекомендуется мыть доску вручную, используя теплую воду и мягкое моющее средство. После мытья тщательно ополосните доску и сразу же высушите ее мягким полотенцем, чтобы избежать накопления влаги.
Для предотвращения появления запахов и пятен на поверхности доски, рекомендуется периодически обрабатывать ее уксусом или лимонным соком. Эти натуральные средства помогут устранить неприятные запахи и продезинфицировать поверхность. Просто нанесите уксус или сок на доску, оставьте на несколько минут, а затем смойте теплой водой и высушите.
Кроме того, регулярная обработка маслами — это ключ к поддержанию здоровья вашей разделочной доски. Рекомендуется использовать миндальное, оливковое или специальное масло для деревянных изделий. Нанесите небольшое количество масла на чистую, сухую поверхность доски и равномерно распределите его с помощью мягкой ткани. Это поможет предотвратить впитывание влаги и защитит древесину от трещин.
Важно помнить, что частота обработки масла зависит от интенсивности использования доски. Если вы часто готовите, рекомендуется проводить эту процедуру раз в месяц. В противном случае, достаточно будет делать это раз в несколько месяцев.
Также стоит избегать резки на одной и той же стороне доски слишком долго. Это может привести к образованию глубоких царапин и трещин, которые могут стать рассадником бактерий. Периодически переворачивайте доску и используйте обе стороны для нарезки продуктов.
Наконец, храните свою разделочную доску в сухом месте, вдали от прямых солнечных лучей и источников тепла. Это поможет избежать деформации и растрескивания древесины. Если вы заметили, что доска начала терять свой первоначальный вид, не стесняйтесь обновить ее с помощью шлифовки и повторной обработки маслами.
Следуя этим простым рекомендациям, вы сможете сохранить свою деревянную разделочную доску в отличном состоянии на долгие годы, обеспечивая себе комфорт и безопасность во время приготовления пищи.
Вопрос-ответ
Что нужно для изготовления разделочной доски?
Для изготовления разделочной доски потребуется немного материалов, которые без труда найдутся в кладовке любой квартиры: карандаш с линейкой, лобзик, наждачная бумага. Большим подспорьем явится шлифовальная машинка. Этапы работ по изготовлению разделочной доски понятны и логичны. На куске дерева рисуем нужный контур.
Из какой древесины лучше делать разделочные доски?
Из какого дерева делают разделочные доски? Дерево – самый экологичный и безопасный для человека материал. Такие доски не только не накапливают бактерии, но и препятствуют их размножению. Самые лучшие разделочные доски получаются из таких пород деревьев, как сосна, бамбук, дуб, орех и лиственница.
Из какого дерева нельзя делать разделочные доски?
Для изготовления досок для разделки и нарезки продуктов, как правило, не используются сосна, ель и другие хвойные – из-за содержащейся в древесине смолы и низкой плотности, нестойкие к гниению ольха, липа, сучковатая береза.
Почему нельзя резать мясо и овощи на одной доске?
Резать мясо и рыбу на одной доске нельзя из-за риска кросс-контаминации, то есть перекрестного заражения. Сырое мясо и рыба могут содержать патогенные бактерии, которые, если они попадут на поверхность разделочной доски, могут скапливаться и размножаться в её бороздках.
Советы
СОВЕТ №1
Перед началом работы выберите качественную древесину, такую как клен, бук или орех. Эти породы не только прочные, но и менее подвержены впитыванию влаги и запахов, что делает их идеальными для разделочных досок.
СОВЕТ №2
Обязательно обработайте поверхность доски специальным маслом для дерева или воском после завершения работы. Это защитит древесину от влаги и загрязнений, а также придаст ей красивый блеск.
СОВЕТ №3
При создании разделочной доски используйте шлифовальную бумагу разной зернистости, начиная с грубой и заканчивая мелкой. Это поможет добиться гладкой поверхности, что важно для удобства использования и ухода за доской.
СОВЕТ №4
Не забывайте о правильном уходе за разделочной доской. Регулярно мойте её вручную с мылом и теплой водой, избегая замачивания, и периодически обновляйте защитное покрытие, чтобы продлить срок службы изделия.



